Normally Open – DN65 to DN100 FLANGE

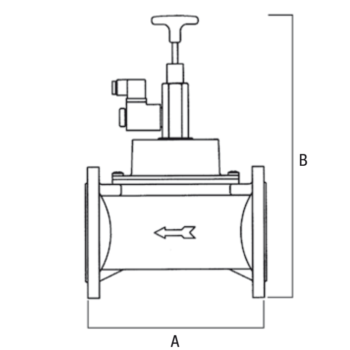
GAS SOLENOID VALVES N.O. 6 bar Dimensions from DN65 to DN100

GAS GAS solenoid valves have been designed to be combined with any gas detection system. Shut off the main outlet when an emergency situation is detected.
They have been installed at the gas piping and connected with a gas detector. Interrupt the gas flow in a danger situation.
The electro-valve is normally located after a filter, upstream of the regulation apparatus and preferably outside the measurement zone. It has been installed with the arrow stamped on the body turned towards the user appliance. To reset the solenoid valve pull the reset knob.

Request Quotation
Technical specifications
Body aluminium
Working temperature -15°C / +70°C
Max pressure 6 bar
Protection level IP65
Request a price quote for the product